第九节 防恶意点击全攻略

我们先来区分一下恶意点击和无效点击。无效点击就是对方没有什么恶意,只是出于自己的需要点击了你的广告,但你确实不希望这类人群点击你的广告,如推销员(希望向你们提供产品和服务)、求知者(常带有这些搜索词:什么是、原理、学习、教程、如何等)、同行(多搜索行业词和产品词为主)等。无效点击可以通过否定词过滤一部分,在对应对方访问数据后,屏蔽对方的IP和设备识别号再过滤掉一部分,做到来一个处理一个,久而久之,就能过滤掉大部分无效点击。而恶意点击就是对方为了能获取广告收入,或者为了消耗你的广告费,故意多次点击你的广告行为。

许多人会认为恶意点击主要都是同行做的,为的是把别人的广告费点光,好让自己的广告排到前面去;或者是泄愤者,某人被公司开除了,点几下公司广告发泄一下。但他们绝对不是恶意点击的主力,因为他们只损人不利己。真正的恶意点击者是损人又利己的一类群体,他们靠这个赚钱,以此为生。另一个原因是,同行也好、泄愤者也好,毕竟不是网络专家,他们的网络知识和技能还不够强大,想变换不同的IP地址和计算机来点击的成本高;而后者都是网络和计算机高手,做这些事就如我们天天睡觉和吃饭一样简单而又常态化。如果我们为恶意点击群体由主到次排队,他们分别是:

(1)百度网盟合作伙伴。

他们把百度广告挂在自己的网站和应用上,需要有人点击广告,才能有收入。大型网站不愁流量,但一些小网站和APP就需要人为地增加点击广告来提高自己的收入。自从2016年的魏则西事件后,百度的广告业务受到重创,百度搜索结果首页的广告位由之前的最多18个,被国家要求调整到现在的最多5个,百度也想尽各种办法来弥补这方面的损失。其中一项措施就是把网盟广告形式由原来的点击网盟直接进入企业网站,改成了点击广告进入搜索结果页面,而不再直接进入哪家企业网站,需要浏览者再次点击搜索推广的广告,才能进入企业网站。更要命的是,这条来自于网盟的点击,在百度统计里只标出是来自哪个搜索词的搜索结果,不标出最初是来自于网盟的。这样的结果就会让我们分不清哪条搜索是真实的搜索,哪条搜索实际是网盟广告。

图3-60是在某个听书网站看到的部分百度网盟广告,当鼠标划过第一幅广告时,会显示关键词和百度图标,点击后就进入图3-61的界面。

图3-60 在第三方PC端平台上看到的百度广告

图3-61 在第三方PC端平台上看到的百度广告

点击图3-61的第二条广告后,我们再进入北京这家公司的百度统计里,很容易找到这条点击广告的数据,如图3-62所示。

图3-62 在网站后台看到的来自网盟广告点击与正常的搜索点击没有区别

图3-62就是我刚才点击广告进入网站的访问记录,用鼠标放在【搜索推广】位置,看到的是一条搜索某关键词的结果(s?wd=这几个字符的意思是搜索的关键词,后面一串字符是“3d打印机工业”汉字的计算机代码),完全跟正常的搜索结果一模一样,看不到任何网盟的痕迹。

以前,企业真的想做网盟广告,还有权选择网站平台,我可以专挑大型网站、相关度高的网站。现在没得选,由百度自动地把网盟广告推送到所有网站上,包括容易遭到恶意点击的小网站上。

(2)搜索引擎广告代理商。

前面也提到过,百度的直营城市并不多,只有几个,其他城市则是由合作的代理商提供服务,代理商可以拿广告费的12%作为服务费。这种代理制度意味着客户花的广告费越多,代理商的收入也就越高。如果代理商一旦听说客户推广的效果还不错,偷偷地增加恶意点击是有可能的。其他搜索引擎(360、搜狗等)由于市场份额太少,为了更快地占领市场,代理费给得更高。曾经有一个做搜狗代理的公司想发展我公司作为二级代理,他们能给出50%的折扣,水分这么大,自然会刺激恶意点击。所以我常常指导我的客户在与各种搜索引擎代理商打交道时,要学会“哭穷”,总说没什么效果,老板一直想停掉广告,让这些代理商不敢夹杂带水分的点击。

(3)搜索广告代运营或者是外包服务商。

这几年流行外包服务,企业的许多服务都拿出去外包,包括搜索推广的打理。但一些企业在签订外包服务时,喜欢以广告费的多少来算服务费,比如按10%。如果一个企业一个月的广告费是10万元,就需要给外包服务商1万元的服务费,听起来似乎很合理,广告费越多,工作量越大,服务费自然也越高。但这样就会造成一种隐患,服务商为了提高收入,也有可能恶意点击广告。正是看到这种合作方式的弊端,我公司的外包服务向来是固定的,固定的服务时间和工作量对应着固定的服务费用,彻底排除客户的担忧。
(4)网络竞争对手。

由于现在百度搜索广告位只有5个,加剧了网络同行间的竞争。假如一个地区至少有100个同行竞争这5个广告位,而且有些企业特别是初创型公司没有老客户,线下业务能力差,对网络的依赖严重,对他们来说能否在百度上接到业务关系到企业的生死;或者是有些行业利润非常高,能从网络上抢到一个客户的成本低、回报高。这两类企业就很希望将其他竞争对手广告尽快点光,让自己的广告以低成本方式展现。也许我接触的客户都是传统的低利润行业,很少遭受到同行间的恶意点击,毕竟恶意点击也需要技术和成本。我只是听说过医疗行业是重灾区,投资理财行业至少有一半广告是被恶意点击的。

(5)泄愤者。

某个人对企业不满,点击企业的搜索广告发发怨气,我认为这是偶然的。因为有更多的渠道让企业损失更大,所以我不认为个人因不满而恶意点击是我们要考虑的因素。倒是企业因为与自己的网络营销人员、第三方服务商之间的关系处理不好遭到恶意点击,才是要引起重视的问题。这些人或服务商都深谙恶意点击技术,一旦合作不愉快,泄愤造成的损失更大。我就遇到过两次这类恶意点击事件:一次是一个三线城市的客户,在开始选择搜索引擎广告服务商时得罪了一家小代理商,在与一家正规代理商合作时,时常在百度商桥得到这样的留言:“我又点击了你的百度广告了,呵呵”,非常嚣张。另一次是一家企业认为网络营销部门主管能力差,换了一个人接替他,结果换人后就恶意点击不断,要不是前任不小心露了马脚,后任主管真的很冤。

分析完主要的恶意点击者,再来看看主要的恶意点击途径。我们由简单到复杂的顺序列一下都有哪些恶意点击的方法。

①通过公司或者家里的计算机、手机点击。这类点击有一个特点,就是容易使用固定的几个IP和设备(计算机、手机、平板电脑),稍微勤快点的恶意点击者会经常重启“猫”(MODEM,调制解调器,通俗说就是连网设备,如电信的光纤宽带机顶盒),重启后IP地址就会改变。同时还需要改变一下自己的计算机编号,才能伪造成一个新的搜索者点击广告。

②采用软件点击,网上有不少免费的换IP软件和计算机编号自动生成软件,可以不断地组合IP地址和计算机编号点击广告。网上也有部分免费的IP地址可供使用,但由于这些IP使用频繁,早被百度大数据归为恶意点击IP,所以要想得到不被识别的IP,就需要花钱买IP地址。计算机编号可以由免费软件自动生成,不需要购买,所以采用恶意点击软件的主要成本来自买IP。

③采用同盟点击。网上有这样一类平台,他们专门聚集各种原因需要点击的人,形成几万甚至几十万人的群体,大家互相帮忙点击。他们采用积分方式管理,当你帮别人点击时挣积分,你要求别人点击时花积分,当然你也可以买积分。

④招募兼职人员点击,单个网站很难找到成千上万的人帮你点击广告,于是网络上就形成了一种组织——站长联盟。他们联合起来招募兼职人员来派发点击任务,并通过网站平台、QQ群、微信群等进行管理。这类人群可以操作比较复杂的恶意点击,比如网盟,甚至把恶意点击做得很像潜在客户的正常访问。招募的对象多为在校生、计算机从业者或者是家庭主妇,他们有时间做这份工作,一个月能多几百元甚至几千元的收入。

第三种、第四种恶意点击最难防控,因为这些点击者散布于全国各地,都是真实的IP地址和计算机编号。这些IP地址每天也在正常使用搜索引擎,只是同时兼做恶意点击,似乎无规律可循。果真这样吗?

只要是恶意点击,一定有迹可寻,更何况对方还是反复做。所以总有方法将恶意点击控制在最小范围,需要借助的是企业网络营销真实数据及百度的一些工具。

【商盾】:该工具位于百度工具中心第一位,是百度防恶意点击的主要工具。有三种屏蔽恶意点击的方式,如图3-63所示。

图3-63 百度【商盾】宣传的功能

【展现屏蔽】:通过手动屏蔽和策略设置,将一些无效的点击排除在外。被屏蔽的IP或者访客将无法搜索到你的广告,也就无法通过百度搜索推广点击进入你的网页。

其中,手动屏蔽需要借助百度统计的实时访客检查是否遭到恶意点击,并直接在【实时访客】中屏蔽IP地址和访客ID。如图3-64所示,来自沈阳同一IP和访客标识码的三条付费点击,相隔不到半分钟,而且既没有访问时长,也没有看其他页面,判断为恶意点击。只需要将IP或者访客标识码旁边的按键点开,屏蔽IP同时屏蔽该访客,以后来自这个IP和访客编号的人就无法看到我们的广告。

图3-64 在百度【实时访客】里发现恶意点击直接屏蔽

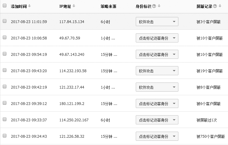
【策略设置】:这是百度简单的自动屏蔽功能,当在指定的时间内广告被同一IP或者访客连续点击多次,就自动屏蔽该IP或者访客识别码,如图3-65所示。百度有三个时间段设置:15分钟、1小时、6小时,我一般设置为3次、4次和5次。

图3-65 百度【商盾】里设置自动屏蔽功能

由图3-65看出,主要屏蔽的恶意点击是15分钟档,一天屏蔽了21个IP。当然也会有错判的,因为计算机无法识别这个多点者是否认真看了网页并联系业务,如果发现有错判的,可以在【设置不屏蔽IP】按键中纠正。图3-66是部分屏蔽的IP,多数屏蔽的IP也被其他推广企业所屏蔽,特别是最后一条竟然被750个客户屏蔽。

图3-66 被百度【商盾】自动屏蔽的恶意点击

【免费点击】:这是百度过滤系统不计算收费的点击,一旦点击出现异常,如点击过于频繁,直接就没有计费,百度称之为免费点击。

【优化返款】:对于部分无效点击,需要一定的时间才会被发现。针对这部分点击,百度会予以返款,你可以通过财务中的点击质量调整一项查看返款金额。在此,我也为百度说句公道话,在我管理的上百家账户中,确实能见到被同一个IP恶意点击几十次的,到了第二天又把钱退回来了。

另外,百度还根据自己内部的大数据对于恶意点击者进行标记,如标为“高危访客”,估计是他们使用了网上免费的IP,经常点击别人的广告,所以很容易被百度大数据识别。还可以根据我们竞争对手的标注,识别出同行(我认为百度仅靠自身的系统也能识别出同行,比如有一台计算机既经常登录到A公司百度账户,也经常点击B公司的广告,百度就可以在B公司的【商盾】里把那台计算机标为同行),当然多数是标注为软件攻击。

我们常常取笑能被百度【商盾】屏蔽的恶意点击者都是“笨贼”,就是那些不懂换IP地址和计算机编号的恶意点击者,多为不懂网络技术的同行和泄愤者,还有就是长期合用软件点击的惯犯。真正恶意点击的主要群体是与百度有合作关系的小网站站长,他们不会傻到能让百度识别的水平。我们需要动用百度相关工具,虽然这些工具都不是专业的防恶意点击软件,但综合应用,可以最大可能过滤掉这些人群。

【同台展现】:可以在账户层级的【更多设置】里选择这个功能,可以让自己的多条广告在搜索结果的同一页面上展现。如果没有发现恶意点击,可以放心大胆使用,增加成功率;如果发现恶意点击,则需要暂时关闭此功能,减少恶意点击的概率。

【设备】:在计划层级的设置里,都能够对PC端和移动端设备设置不同的出价,由于考虑到移动端的恶意点击更容易,成本也更低,对于B2B领域的推广,完全可以将移动端出价系数调整到最低0.1。而对于大宗B2C的推广,由于移动端真实搜索量也不少,我建议可以试验性地在不同时期调整不同的出价系数,看哪个出价比例最合适。

【搜索合作网络】:这个功能还是在账户层级的【更多设置】里,正如前面所说,百度强制性地在合作网站里安放广告,我们不做都不行,唯一能做的就是把出价系数调整到最低0.7。虽然不能像移动端出价系数可以调整到0.1,但也能过滤掉部分该源头的恶意点击。当然,如果这样操作还是发现恶意点击比较多,可以向百度客服申请彻底关闭此功能。

【地域】:目前见不到对于恶意点击人群的报道,但2017年6月20日全国首例组织刷单炒信(电商领域)被判刑案件公开审理后,让我们看到这类人群的特点:参与刷单的多为在校学生、宅男、宅女、家庭主妇等,刷单也算是体力活,大多数人的收入只有几千元。而恶意点击者人群的收入相对刷单者还要低,所以这类人群主要集中在收入不高地区和学校集中区域。一个企业可以根据历年来的客户地域分布情况,尽可能将目标客户少的区域排除在推广区域外。另一个原因就是全国各地IP资源也是不均的,偏远地区的IP资源过剩,价格也便宜,常常被恶意点击者购买用在恶意点击软件上;而发达地区IP资源稀缺、价格贵,不容易用在恶意点击上。如图3-67所示,在百度【地域】工具里,可以只选某个省的发达地区推送广告,能很好地屏蔽掉部分恶意点击。可能在山东济南从事恶意点击的人每天需要工作10个小时才能挣几千元勉强养活自己;而在山东临沂,恶意点击者只需要每天工作几个小时就能很好地养活自己。所以,如果你的客户多集中在经济发达地区,你可以只选择发达地区投放广告来规避恶意点击的重灾区。

图3-67 通过百度【地域】设置,屏蔽恶意点击集中地

【时间段】:刚才分析了恶意点击者多喜欢上网,这类人群没有早起的习惯,也没有上下班时间。而客户群体多为上班族,在一天24小时中,选择上班族的时间,避开宅男、宅女时间,也能最大限度地防止恶意点击。我喜欢把账户推广时间设定在早上8点到12点、下午13点到17点。如果你已经做了好几年的网络营销,把几年的数据统计一下,看看有效的咨询多集中在哪个时间点,多在这个时间点投放广告,在其他时间点少投广告,也能起到防止恶意点击的作用。我的一个客户更有趣,他以前经常玩CS(一种枪战游戏),把游戏中躲子弹的技能也搬到推广上来,用来防恶意点击,把游戏中的跳跃式躲子弹改成推广时间段的间隔式投放广告(即9点到10点上线,10点到11点下线,11点到12点又上线……一般我们都是设置连续时间段投放广告)。我问他效果如何,他说比连续时间段好。

【人群】:百度可以在计划层级上对不同的人群投放不同价位的广告。尽管前面也提到过目前百度的人群划分比较粗放,而且多以电商角度对人分类。但对有可能是恶意点击人群的广告出价比较低,对潜在客户群出价比较高,既能引进更多的优质客户,也能过滤掉恶意点击者。如图3-68所示,我的一个客户做金属板材加工设备,他的推广账户在【人群】设置里,只选中机械设备并关注同行人群并给出了1.4倍的系数,可以拦截很多恶意点击。

图3-68 通过百度【人群】设置,屏蔽恶意点击集中的人群,只开通行业相关人群

【搜索框提示词】:只要用过百度搜索的人都会使用这个功能,在百度搜索框输入几个字就会提示出我们想要的词,直接点击,省了打字的时间。以前我们一直认为这种提示词最容易遭到恶意点击,因为相比于恶意点击者来说,比较容易、成本相对就低。自从网盟广告夹杂在搜索推广中,“两害相权取其轻”(这也是添力战法的口诀),现在反倒使用提示词的点击,恶意点击概率相对少一些。根据前面解读的来自网盟广告的点击路径,第一步点击第三方平台的广告,第二步进入搜索页面点击广告,不太可能在第二步还在搜索框里重新搜索再点击。所以我认为,用【搜索框提示词】里的词作为关键词相对来说安全一些。

数据分析法:通过以上设置,虽然在一定程度上防止了恶意点击,但不是最有效的。最有效的仍然是添力防恶意点击战法。不管恶意点击来自哪个群体,通过长期积累的数据和百度几个简单的工具,都能有效防止恶意点击。

这套战法的理论基础是:恶意点击者毕竟不是任何一个行业的专家,他们不懂得哪些是有价值的关键词,只会点击热门关键词和出价高的关键词。而长期做搜索推广的企业,经过长期认真的统计,能够知道每一个咨询是来自哪个搜索词,与每天的搜索词做对比,很快就能识别出什么词是恶意点击来的。如图3-69所示,这是一家卖3D打印机和3D软件的企业,一个月内点击量比较大的搜索词排名表。

图3-69 通过百度统计系统的【搜索词】发现跳出率高、访问时长短的恶意点击者

一般情况下,我们认为跳失率比较高、平均访问时长比较短的搜索词被恶意点击的嫌疑比较大。所以,第4、第8、第10、第18条对应的搜索词(有限元分析软件、3d打印设备价格、三维软件、钢结构设计)需要进一步分析。我们调出了半年来所有咨询过的客户记录,以“钢结构设计”这个词为例,半年来没有客户通过搜索该词来咨询,但相关的咨询是有。记录显示半年以来,客户是在360上自然搜索“safi钢结构分析软件教程”,在百度上自然搜索“钢结构楼梯设计软件”后洽谈业务的,独独没有搜索“钢结构设计”这个词来咨询的,哪怕是无效咨询都没有,所以我们就可以判定该词遭到恶意点击。

知道了什么词遭到恶意点击,那么如何应对呢?添力战法对付恶意点击:敌点我撤,敌撤我上。步骤如下:

①将账户下面的该关键词删除并做好记录,以备后期重新启用。

②将该词在对应的计划或单元里精确否定。

③做好下次重新启用该词的计划。

④按计划时间点将该词上架,并删除否定词。

⑤观察上架后的表现,表现不好回到第一步,如此循环往复。

有人担心这样做,会不会把真正有价值的关键词也关掉了,当然会有少数关键词因删除而失去客户,但省下来的恶意点击费用会让我们挖掘出更多的有价值的客户。这些少数关键词多为各行业的核心词或者称热门词,如3D打印机行业的“3D打印”和“3D打印机”,这两个词不但容易遭到恶意点击,更容易带来无效的访问(只是泛泛地搜索某个词,求知者居多)。这些词早被老练的推广人员否定了。

既然恶意点击主要对象是核心关键词,而核心关键词确实能带来有效的咨询,怎么办呢?这就是下一章我们要讲的内容:关键词的自然排名。行业里的核心关键词排到百度前几位,就能保障既有效果,又不怕恶意点击了。

另外,需要指出的是不要谈虎色变,我在和许多企业主交流网络营销话题时,问及他们为什么不做百度广告。他们说怕恶意点击。其实,恶意点击现象主要发生在需求量大、竞争激烈的行业,只要你专注自己的细分市场领域,就会大大降低恶意点击的可能性。我选了三个行业的关键词做对比:一是传统机械加工设备:“液压机”;二是3d打印行业:“3d打印机”;三是离型材料行业:“离型膜”。图3-70是这三个词的百度指数。

图3-70 三个不同行业的关键词每天搜索量

由图3-70看到,“离型膜”每天的搜索量很低,只有200多次,是“3d打印机”的1/5、“液压机”的1/8。相应的关键词出价也低,如果恶意点击者想靠搜索量低的词来赚钱,一定亏死了。所以,对于细分市场,竞争不激烈的行业,如离型材料行业,不用过于考虑恶意点击,只管放心大胆做推广。

本章小结:

正因为搜索推广是网络营销的利器,所以用了很多篇幅讲解,我也只是讲了百度竞价常用的一些功能和技巧,还有个别重要的功能会在第七章和第八章里涉及。

所谓“仁者见仁,智者见智”,不同的人使用百度搜索推广的习惯和技巧也不一样,我的方法比较适合数据量不太大的中小型企业,如每天网站独立IP点击量为300次左右。如果点击量为上千次(大型企业或者是B2C行业,如医疗、美容、理财等),就需要借助百度客户端软件来管理,而不是用在线的百度后台进行管理,甚至还需要借助第三方的软件来管理,如调价软件和CRM管理软件等。

我按顺序列出本章所提到的关键词(知识点),看看你已经掌握了哪些知识点,如果你对某些知识点还很陌生,可以重读相应的内容:

广告开户—V认证—网盟广告—手机端广告—账户—计划—单元—人群—地域—时段—设备—关键词—关键词规划师—否定词—匹配模式—广告创意—凤巢—闪投—创意样式—创意组件—推广实况—实时访客—搜索词报告—关键词管理—数据报告—竞争对手分析—恶意点击—商盾—防恶意点击。